Physical Address
304 North Cardinal St.
Dorchester Center, MA 02124
Physical Address
304 North Cardinal St.
Dorchester Center, MA 02124

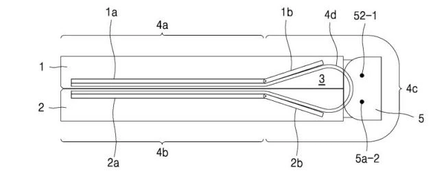
1 月 16 日消息,根据韩媒 Naver 报道,三星计划为 Galaxy Z Fold 5 采用“水滴”状的铰链设计,在折叠状态下提供更柔和的曲线,从而减少屏幕折痕,降低屏幕开裂的风险。

三星在商业化推进可折叠设备以来,不断改进折痕区域,在 Galaxy Z Fold 4 和 Galaxy Z Flip 4 上改进尤为明显,采用了“U”型铰链设计。以国内 OPPO Find N2 为例,“水滴”状的铰链设计可以减少对屏幕的压力,在展开状态下折痕也不会特别明显。

了解到,三星早在 2016 年就获得了“水滴”状的铰链设计,只是尚不清楚出于什么原因三星至今仍未部署该方案。
via IT之家